STROJNISTVO.com • Poglej temo - Vodilo nadrezkarja

Vodilo nadrezkarja

Konstruiranje naprav, strojev, prenosi, gonila...

Moderator: -M-

Vodilo nadrezkarja

OdgovorNapisal/-a Bellerophon » 17.12.2012 10:16

Pozdravljeni,

za potrebe izdelave domačega miznega rezkarja bi potreboval en nasvet glede izdelave vodil - dva kosa.

Obstoječa vodila pri nadrezkarju so namreč prilagojena njegovi normalni uporabi. Kar pomeni, da imajo malček večjo zračnost, so malce krajša in nasajena v precej robustno podnožje, katero vse skupaj naredi neuporabno za montažo v mizo.

Naredil sem že eno skico, kako naj bi zgledalo preprosto okroglo vodilo (nisem strojnik, tako da je skica označena približno razumljivo).

Prosil bi za kakšen nasvet iz kakšnega materiala naj bosta vodili (bi aluminij zadsotoval - nekih hudih obremenitev ni za pričakovat, konec koncev gre za hobi mašino) in kje v Ljubljani ali Grosupljem bi se mogoče dalo tole dat podrejat za ne prevelik strošek.
Slika
[/img]
Bellerophon
Pripravnik
Pripravnik
 
Prispevkov: 16
Pridružen: 23.10.2012 7:22

OdgovorNapisal/-a petkovar » 17.12.2012 14:52

zdravo

če daš za kakšno pivo ti postružim.. :)

lp

Rok
petkovar
Strokovnjak
Strokovnjak
 
Prispevkov: 86
Pridružen: 16.8.2008 12:02

OdgovorNapisal/-a Bellerophon » 17.12.2012 20:35

Tud za dva al pa tri, samo da bo OK zadeva. :D

Bi se dalo mogoče dogovorit še za ena "vložno" ploščo, dimenzij 150x200mm. Debeline pa okoli 7-8 mm. Z eno izvrtino fi 40mm v centru.

Lahko prilimam še za to eno skico.

Vidim, da so ti mizni rezkarji večinoma dela iz ultrapasa oz. podobnih materialov. Osrednji del, kjer se vrši celoten proces obdelave obdelovanca, pa je ponavadi ene vrste kovinski vložek (litina) - v moje primeru bi verjento zadostovala zgoraj navedena aluminijasta plošča, da ne bi bilo preveč posedanja oz. da bi bila zadeva bolj odporna proti poškodbam.

Kako se sploh reče strokovno tej plošči? Nekakšna miza, kamor vpneš obdelovanec, primež,ipd.
Bellerophon
Pripravnik
Pripravnik
 
Prispevkov: 16
Pridružen: 23.10.2012 7:22

OdgovorNapisal/-a suzica » 17.12.2012 20:49

šravfštuk
suzica
Strokovnjak
Strokovnjak
 
Prispevkov: 553
Pridružen: 8.2.2011 17:42

OdgovorNapisal/-a Bellerophon » 17.12.2012 21:37

Šraufštok je v bistvu primež. Jaz govorim o plošči na katero lahko npr. pritrdiš strojni primež in je ponavadi že sestavni del mašine (rezkarja, vrtalnika, žage, ipd.).
Delovna miza, ponavadi delana iz gusa.
Bellerophon
Pripravnik
Pripravnik
 
Prispevkov: 16
Pridružen: 23.10.2012 7:22

OdgovorNapisal/-a zodiac » 17.12.2012 22:46

Miza s T-utori:

Miza s T-utori
zodiac
Strokovnjak
Strokovnjak
 
Prispevkov: 533
Pridružen: 4.2.2009 16:20

OdgovorNapisal/-a petkovar » 18.12.2012 6:41

031 383 534 lp Rok
petkovar
Strokovnjak
Strokovnjak
 
Prispevkov: 86
Pridružen: 16.8.2008 12:02

OdgovorNapisal/-a Silvob » 18.12.2012 21:32

Poglej tukaj mogoče najdeš kaj uporabnega.
http://www.stolarskaradionica.com
Ali pa na forumu - stolarska radionica.

Lp
Silvob
Strokovnjak
Strokovnjak
 
Prispevkov: 124
Pridružen: 14.11.2010 20:20

OdgovorNapisal/-a Bellerophon » 20.12.2012 15:22

@Silvob
Hvala za link. Precej uporabna stran, ker marsikaj po domače razloži.

@petkovar
Žal še nisem imel časa poklicat, ampak nisem pozabil na ponudbo. Upam, da ne bo iztekla! :D

Malce razmišljam, če bi lahko na preprost način, brez večje spremembe zasnove oz. kompliciranj izdelovanja vodila, implementiral še nagib rezkarja. Vsaj do 30°brez večjega žrtvovanja globine rezkanja.
Bellerophon
Pripravnik
Pripravnik
 
Prispevkov: 16
Pridružen: 23.10.2012 7:22

Re: Vodilo nadrezkarja

OdgovorNapisal/-a Bellerophon » 9.1.2013 11:11

Po dolgih in bolnih praznikih sem prišel do zaključka, da je implementacija nagiba zaenkrat prezapletena in težko izvedljiva zadeva, ter da bo počakala do nakupa novega, enoročnega rezkarja, ki je veliko manjši od zdajšnjega ter precej bolj priročen za montažo.

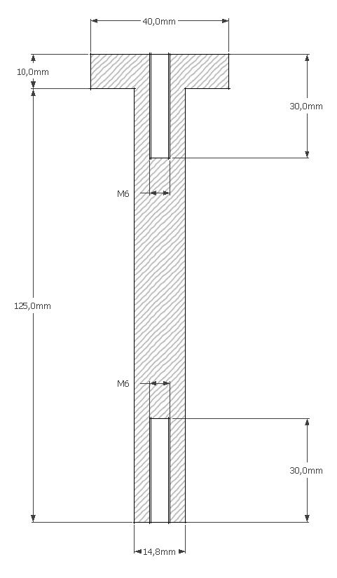
Sedaj me pa zanima vaša ocena, koliko približno bi me stal odrez oz. izdelava kosov na spodaj pripetih slikah. Ciljal sem aluminij, večja plošča debeline 8mm, manjša pa 6mm.

plosca_nadrezkar.JPG
plosca_nadrezkar.JPG (41.94 KiB) Videno 1675 krat


vodilo_nadrezkar.JPG
vodilo_nadrezkar.JPG (43.1 KiB) Videno 1675 krat
Bellerophon
Pripravnik
Pripravnik
 
Prispevkov: 16
Pridružen: 23.10.2012 7:22

Re: Vodilo nadrezkarja

OdgovorNapisal/-a Bellerophon » 10.1.2013 9:01

Uf, so pa dragi ti špasi.

Če ti izrežejo iz INOXa pride okoli 140EUR (1x plošča in 2x vodilo). Sedaj še čakam, da mi povedo koliko bi zadeva koštala če bi bila iz aluminija. Upam da bo malo manj. :D

Ga pa skoraj nihče noče rezat. Ker naj bi bilo preveč škode na stroju. Zakaj je alu tako zagaman za rezanje?
Bellerophon
Pripravnik
Pripravnik
 
Prispevkov: 16
Pridružen: 23.10.2012 7:22


Vrni se na Konstruiranje in mehanika

Kdo je na strani

Po forumu brska: 0 registriranih uporabnikov in 2 gostov